产品型号:RS-WDM-*-4G/ETH
产品概述
我司研发的积水监测站由远程遥测终端RTU、电子水尺、语音播报模块、光报警模块LED屏显示模块等组成。电子水尺通过485通信,将测量到的水位信息传输到远程遥测终端,遥测终端将得到的水位值通过4G通讯模块,再传送给后台服务器,然后传送到微信小程序/云平台网页终端。同时可以将检测到的水位值,实时显示在LED屏上,水位超限会触发号筒扬声器和声光报警器双重报警。从而全面掌握城市内涝状况、实现排水统筹调度,建立起城市内涝监测预警系统。
功能特点
可因地制宜选择4G(全网通)、网口等上传方式。
可外接显示屏,实时显示当前水位,超限变色显示。
可外接语音播报及光报警器,实时水位预警。
自带两路继电器输出,可接外设扩展,支持平台控制、自动等控制模式。
可通过手机配置软件“蓝牙app”进行配置参数。
可外接两路室外LED双色显示屏,实现隧道两端同时显示实时水位值。
设备可设阈值,超限醒目提示,关联光报警器、号筒扬声器。
支持我司提供的多款软件平台、客户自己的平台。
设备支持远程升级、支持二次开发。
交流220V供电、IP65防水等级,可常年工作于室外,不惧淋雨室外。
兼容多种立杆,安装简单灵活。
主要技术参数
| 供电 | AC220V | |
| 供电方式 | 市电或太阳能供电 | |
| 设备功耗 | ≤25 W | |
| 工作温度 | -40~80℃ | |
| 设备接口 | 接口类型 | 说明 |
| LED屏显示接口 | 双色LED显示屏(最大点数96*16)/单色LED显示屏 (点阵数96*48) | |
| 上行485采集 | 485通信距离2000m | |
| 两路开关量接口(预留) | 电压输入范围:0~5V | |
| 两路模拟量接口(预留) | 采集范围:4-20mA、0-5V、0-10V默认4-20mA | |
| 一路水浸检测(预留) | 可检测有无水 | |
| 一路有源输出 | 默认24V DC | |
| 一路继电器接口 | 继电器容量:250VAC/30VDC 3A | |
| 报警设备 | 支持声光报警 | 支持语音播报 |
| LED屏 | 尺寸102cm*22cm双色屏/尺寸 102cm*54cm 单色屏 | |
| 设备支架 | 2m立杆 | |
| 电控箱 | 用于放置远程遥测终端机、电源 | |
产品选型
| RS- | 公司代号 | |||
| WDM- | 积水监测 | |||
| 100- | 标准版(96*16双色屏) | |||
| 101- | 标准版(96*48单色屏) | |||
| 200- | 地埋式(96*16双色屏) | |||
| 210- | 地埋式(96*16双色屏) | |||
| 300- | 通讯服务器版 | |||
| 4G | 4G(全网通)上传 | |||
| ETH | 以太网方式上传 | |||
系统框架图
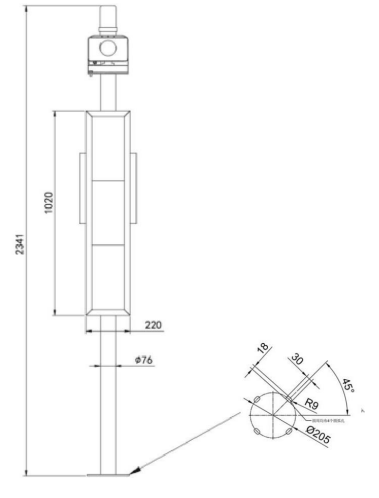
尺寸说明

安装说明
采集终端安装
电子水尺设备采用对插线方式,放有远程遥测终端设备的箱体内引出对应的四芯线,对插安装即可。
语音播报及光报警器有配套安装支架,使用对应螺栓安装在立杆顶部即可
LED屏、电控箱安装
LED屏背面有螺纹孔,将LED屏放置在立杆上方,使用抱箍固定安装即可。电控箱使用抱箍安装LED屏背面。
内部带有联网模块,则在使用时,应当把4G天线从LED箱体底部穿孔拉出,吸附在防水箱外侧,防止屏蔽网络型号传输。
接口说明
将电控箱内部出来的供电线母头和LED屏的供电线公头对插,同时将LED屏出来的两孔对插头接入市电即可。